
|
Learning
Tools And Research Material
|
User Forums
Post pictures of your items and ask questions or just
learn from reading the posts from others
Ad
Database
View or upload ads from antique magazines
Bulb
& Socket Bases
View images of the most well known bulb and socket bases
Patent Utilities
Patent
Linker
Lets You Pull Up Any Patent PDF File Or Link One Directly
To Your Web Page
Group Patent Dbase
Lets
You Download The First Page Patent Picture Of Every Patent On A Single
Day To View On Quickly Your Local Computer
MultiView Search
Lets
You Search For Patents Using Advanced Methods And Provides Hyper Links
To The Patent Office And Google Patents |
|
|
I
have not had much time to get many items in the forsale area below.
Please keep checking back as I will start adding more items soon.
Items
For Sale
Cord
Balls & Adjusters
NEW - My cord
pendant adjuster project, as well as a good history about them.
|
|
Socket
& Electrical Manufacturer's Items And Their History
|
GECO
Sockets
NEW
- This section will allow you to date
and learn how to tell one GECO socket from the other.
Hubbell
This is where this site started from. Since this page
was done, there has been much more Hubbell history and information
found which will make for a complete redesign of this page and section
in the soon future.
Hubbell Patents
This section has some early patent research on Hubbell.
It is mostly complete with only a few missing patents which will be
added in when this section is re done into the new format
Wheeler Reflector
Co.
NEW - A history of The
Wheeler Reflector Company and tips on how to tell if mirror has been
replaced on a shade
Other Manufacturers
This section is a lot of incomplete
work and will be updated shortly. For now it serves to give you some
extended information on some companies, but will be a much better
tool when it is complete
NEC
This section is everything you ever wanted to know about the National
Electrical Code (NEC) but had no one to ask. Downloads of old NEC's,
meetings and much extended information is provided.
|
|
Tutorial
And Early Lighting History
|
|
The Lighting Time Table
To
read the entire tutorial, you can just click on the first link and
then continue to the next section at the bottom of each page. Or,
you can select links below of interest to you.
PRE 1900 SECTION
Overcoming Obstacles
About Early Electric Lighting, Generators, Arc Lamps,
The First Edison Socket, Menlo Park, etc.
The
First Fixtures
About The Start Of The First Incandescent Lighting
Fixtures
Light
Reflection
About Early Light Bulbs And Candle Power vs. WATTS
Edison-Bergmann
About Sigmund Bergmann And The Start Of Bergmann
And Company Lighting Fixtures
Lighting
Break Down
A Quick Break Down Of Different Lighting Time Periods
Styles
1881 to 1884
Bergmann Fixtures And Styles
Other
Pre-1888 Styles
About Early Companies That Sold Lighting Systems
And The Fixtures That They Sold With Their Lighting Systems
The
U.S. Elect. Co.
The United States Electric Company History And Early
Items
The
Brush Elect. Co.
The Brush Electric Company History And Early Items
Thomson-Houston
The Thomson-Houston Electric Company History And
Early Items
Westinghouse
About The Westinghouse Manufacturing Company History
And Early Mergers
Mid
1880's Styles
About The Start Of Electrical Supply Houses and
how new lighting styles came about
Pre
1900 Sockets
About Early Light Sockets And How To Tell The Difference
1887
New Items
1888
New Items
1890
New Items
1891
New Items
1892
New Items
1893
New Items
1894-1896
Items
1897
New Items
1898
New Items
1899
New Items
Above are catalog items sold in different years. There is no space
to duplicate items, so only new and unique items from each year
are shown. You would need to view the catalogs for yourself to be
complete as I am only highlighting items. You can view catalogs
here.
EXTRA INFO
Victor
Shade Holder
About The Victor Shade Holder, Atwood And The Standard
Holder
I.P.
Frink 1899 Items
About
Frink & Wheeler
New
Wheeler Inverted
Three Links About Mirror Reflector Manufacturers
And Their Items And History.
Wheeler Reflector
Co.
NEW - A history of The
Wheeler Reflector Company and tips on how to tell if mirror has
been replaced on a shade
Early Desk Lamps
Some Help In Telling Them Apart
Vitrite And Luminoid
About The Vitrite Holders And Early Vitrite History
Brush-Swan Holder
About Brush-Swan Shade Holders
Cord
Balls
My cord pendant adjuster project, as well as a good
history about them.
POST 1900 SECTION
About
1900 Styles
This section covers a basic into into the 1900 section
covering information about the 1899 transition, electrical code
changes, lighting influence, sharing and licensing of patents and
then into the new section of electrical specialty manufacturers,
Electrical Specialty Manufacturers
Harvey
Hubbell
This section covers some early history periods of
pre Hubbell-Grier, Hubbell-Grier, Harvey Hubbell, Hubbell Company.
It also covers a number of items that helped change lighting styles,
Benjamin
This section covers some early history periods for
the Benjamin Electric MFG. Co, as well as a small section on Dale
and The Federal Electric Company
Dale
Federal
Electric
This post 1900 section continues to be under current
construction
Please Check Back.
|
|
|
DATING
HINTS - Hubbell Patents
|
|
PATENTS
- Help viewing full
patents
Note: This page is soon to become outdated as
I finish linking all of the patents to our new patent linker system.
Try using some of our new patent utilities shown in the links on
your left. The information below is only for either trying to use
the patent office tiff files or for tiff files we still have on
our site. Soon all of the tiff files will be replaced with easy
to view pdf files.
If you would like to view and read the entire patent, the best way
is to read the TIFF files from the US Patent office.
To do this you would need a good plugin for a TIFF reader. If
you are using the QuickTime reader you can miss most if not all
of the images because of cache problems. The best reader that I
have found to use is AlternaTIFF
It has many nice options and has never messed up on me. If you wish
to install it now, book mark this page or save it to your favorites
first so that you can come back here easily. Then go to http://www.alternatiff.com/
and install the plugin. After you install it close your browser
and come back to this page. All of the TIFF links should then work
with no problems.
Some quick search tips if you go to the patent office online at
http://patft.uspto.gov/netahtml/PTO/search-adv.htm
You always need to use advanced mode to find older patents.
Be sure to always select Year 1790 to present
To search for a patent number type in: (PN/xxxxxx)
You type the number where xxxxxx is and it must have the ( ) around
it. Then click on Search
To look for all of the patents on the date May 8th 1900 you would
type: (ISD/19000508)
The format would be year month day (complete year 1900 not 00)
To look for Inventor name you could type: (IN/"HARVEY HUBBELL")
Or you could use (IN/HARVEY AND HUBBELL)
(TTL/LAMP AND SOCKET) TTL is what you would use to search the title
area of the patent
Patents
from 1790 through 1920 are searchable only by Issue Date and Patent
Number.
These kinds of searches shown above can only bring back patents
after 1920.
To search before 1920 you will need know the patent number OR the
date of the patent.
You can search a date using ISD/XXXXX then look through all of the
patents for that day.
Another method would be to search U.S. Class or sub classes:
Once you find an item of the same type that you are looking for,
the search result page will display the category that the patent
has been filed into. Example patent number 565541 is found in Current
U.S. Class: 200/420.
You can search for other patents that are in the same class and
sub class using the search terms:
(CCL/200/420). To search through an entire category and all of the
sub classes at once use the term (CCL/200/$)
I have already done some of the work for this Hubbell section and
added links for the patents below
|
| Patent
No. / Links |
Description
/ Notes |
Patent
Picture |
| 565541 |
SOCKET
FOR INCANDESCENT LAMPS |
|
View
Page 1
View
Page 2
View
Page 3
Patent Class
200/420
Help
|
Patent
Applied For: 06/06/1896
Patent Approved On: 08/11/1896
|
The
first pull socket. This version was before pull chains were used.
It used a tuna line string.
|
| Patent
No. / Links |
Patent
Title / Date / Notes
|
Patent
Picture |
| 576404 |
AUTOMATIC
TAPPING MACHINE |
|
View
Page 1
View
Page 2
View
Page 3
View Page 4
Patent Class
408/95
Help
|
Patent
Applied For: 10/17/11896
Patent Approved On: 02/02/1897
|
This
was a tapping machine which allowed him to drill a hole and stop automatically
when the size of the hole was at the desired preset.
|
| Patent
No. / Links |
Description
/ Notes
|
Patent
Picture |
| 649308 |
INCANDESCENT
LAMP SOCKET |
|
View
Page 1
View
Page 2
View
Page 3
Patent Class
200/420
Help
|
Patent Applied For: 10/09/1899
Patent Approved On: 05/08/1900
|
This
socket was the first pull "chain" socket.
It
does not use the Edison style screw base. This model only has two
patent dates on the shell. Aug.11.96 & May 8.00 It may be marked
with the Hubbell-Grier Elect Co. above the patent dates. It is assumed
that the lid screw threads into the body of the shell by use of the
threaded rivet hole as in the 1901 patent.
More Info...
|
| Patent
No. / Links |
Description
/ Notes |
Patent
Picture |
| 679316 |
ELECTRIC
SWITCH SHELL |
|
View
Page 1
View
Page 2
View
Page 3
Patent Class
200/303
Help
|
Patent
Applied For: 01/28/1901
Patent Approved On:
07/30/1901
|
This
patent had more to do with socket shell styles. Even though the pictures
may not match the socket type you may have (that contains this patent
date), some of the parts of your socket are covered by this patent.
(such as the socket cap) Thus the reason for including the date of
this patent along with other patent dates.
More Info...
|
| Patent
No. / Links |
Description
/ Notes
|
Patent
Picture |
| 693799 |
PULL
SOCKET |
|
View
Page 1
View
Page 2
View
Page 3
Patent Class
200/420
Help
|
Patent
Applied For: 07/24/1901
Patent Approved On: 02/18/1902
|
This
patent was added for the full socket. The 1901 patent was only used
to show how the cap screw threaded into the base. This 1902 patent
was the first patent to describe the new switch style for the sockets
of this period. More
Info...
|
| Patent
No. / Links |
Description
/ Notes
|
Patent
Picture |
| 701269 |
SWITCH
CLUSTER OPERATING DEVICE |
|
View
Page 1
View
Page 2
View
Page 3
View Page 4
Patent Class
200/331
Help
|
Patent
Applied For: 09/04/1901
Patent Approved On: 05/27/1902
|
This was a cap that allowed someone to link two or more pull chains
together and have a single pull. There were other devices on the market
that did the same thing, but did not require you to clip the acorns
off the end to use it, as this one did. This patent helps you to date
your item to (a possible) post 1901 if it is using this after market
device.
|
| Patent
No. / Links |
Patent
Title / Date / Notes
|
Patent
Picture |
| 720808 |
INCANDESCENT
LAMP SOCKET |
|
View
Page 1
View
Page 2
View
Page 3
Patent Class
439/753
Help
|
Patent
Applied For: 05/26/1902
Patent Approved On: 02/17/1903
|
This
is the Patent that should be found on most sockets that you find with
the Feb. 18th 1902 No. 693799 patent. Hubbell changed the shell type,
but for some reason left the old patent dates on this and future new
shells. You will not find a shell with this patent date even though
it is the more common shell type with the riveted cap. More
Info...
|
| Patent
No. / Links |
Patent
Title / Date / Notes
|
Patent
Picture |
| 734874 |
SHADE
HOLDER |
|
View
Page 1
View
Page 2
Patent Class
362/434
Help
|
Patent
Applied For: 03/05/1902
Patent Approved On: 07/28/1903
|
|
| Patent
No. / Links |
Patent
Title / Date / Notes
|
Patent
Picture |
| 734875 |
CLUSTER
CENTER FOR INCANDESCENT LAMPS |
|
View
Page 1
View
Page 2
View
Page 3
Patent Class
248/344
Help
|
Patent
Applied For: 10/27/1902
Patent Approved On: 07/28/1903
|
There
were several of these patents applied for with different switch and
mounting methods.
There was a rare release (patent pending) that was not approved.
This was called THE HUBBELL STANDARD PULL CLUSTER patent applied for
on 05/27/1902 and came with four sockets with pull chains hanging
as shown in the patent above
no. 701269.
It could be that it did not get a patent because each of the parts
in the cluster are already covered in other patents.
|
| Patent
No. / Links |
Patent
Title / Date / Notes
|
Patent
Picture |
| 734876 |
CLUSTER
SWITCH |
|
View
Page 1
View
Page 2
View
Page 3
View Page 4
View
Page 5
View
Page 6
Patent Class
200/544
Help
|
Patent
Applied For: 11/21/1902
Patent Approved On: 07/28/1903
|
There
were several of these patents applied for with different switch and
mounting methods.
There was a rare release (patent pending) that was not approved.
This was called THE HUBBELL STANDARD PULL CLUSTER patent applied for
on 05/27/1902 and came with four sockets with pull chains hanging
as shown in the patent above
no. 701269.
It could be that it did not get a patent because each of the parts
in the cluster are already covered in other patents.
|
| Patent
No. / Links |
Patent
Title / Date / Notes
|
Patent
Picture |
| 753077 |
SHADE
HOLDER |
|
View
Page 1
View
Page 2
View
Page 3
View Page 4
Patent Class
362/434
Help
|
Patent
Applied For: 06/11/1903
Patent Approved On: 02/23/1904
|
This
was a bead slip over for older shells that only had the bead on the
shell and no threads.
This device supplied the threads for shade holders that needed to
be screwed on.
There is
a photo and more information about this item linked
here.
|
| Patent
No. / Links |
Patent
Title / Date / Notes
|
Patent
Picture |
| 774250 |
SEPARABLE
ATTACHMENT PLUG |
|
View
Page 1
View
Page 2
Patent Class
439/682
Help
|
Patent
Applied For: 02/26/1903
Patent Approved On: 11/08/1904
|
|
This was the
first plug. This adapter could be screwed into a light bulb socket.
The adapter has two holes which matched the prongs on this device
Hubbell called the "separable attachment-plug".
Hubbell wrote, "electrical power in buildings may be utilized
by persons having no electrical knowledge or skill in the use of
tools in attaching lights, fans, motors, heating apparatus, surgical
instruments, or any of the various appliances requiring the use
of an electric current to fixtures in the circuit."
|
| Patent
No. / Links |
Patent
Title / Date / Notes
|
Patent
Picture |
| 774251 |
SEPARABLE
ATTACHMENT PLUG |
|
View
Page 1
View
Page 2
View
Page 3
View Page 4
View
Page 5
Patent Class
439/646
Help
|
Patent
Applied For: 05/27/1904
Patent Approved On: 11/08/1904
|
This
was a new version of the plug that was patent applied for several
months after the first version shown above. Both of these were patent
approved on the same day in Nov of 1904.
|
| Patent
No. / Links |
Patent
Title / Date / Notes
|
Patent
Picture |
| 776326 |
MULTIPLE
ATTACHMENT PLUG |
|
View
Page 1
View
Page 2
View
Page 3
View Page 4
View
Page 5
Patent Class
439/639
Help
|
Patent
Applied For: 03/26/1903
Patent Approved On: 11/29/1904
|
This
new version of the plug allowed the user to plug in multiple devices
or lamps.
|
| Patent
No. / Links |
Patent
Title / Date / Notes
|
Patent
Picture |
| 783275 |
ATTACHMENT
PLUG |
|
View
Page 1
View
Page 2
View
Page 3
Patent Class
439/734
Help
|
Patent
Applied For: 07/01/1904
Patent Approved On: 02/21/1905
|
This
was a new simple plug that cost less to produce. It also had a bottom
to it which kept it from breaking like some of the earlier plugs.
|
| Patent
No. / Links |
Patent
Title / Date / Notes
|
Patent
Picture |
| 793195 |
SHADE
HOLDER |
|
View
Page 1
View
Page 2
View
Page 3
View Page 4
Patent Class
362/440
Help
|
Patent
Applied For: 11/07/1904
Patent Approved On: 06/27/1905
|
This
was a simple and inexpensive shade holder that Harvey Hubbell said
could be used by unskilled operatives.
|
| Patent
No. / Links |
Patent
Title / Date / Notes
|
Patent
Picture |
| 793196 |
SHADE
LOCKING DEVICE |
|
View
Page 1
View
Page 2
View
Page 3
Patent Class
362/440
Help
|
Patent
Applied For: 09/07/1904
Patent Approved On: 06/27/1905
|
This
was the locking device to be used on shade holders like the one shown
above. This patent was applied for before the one shown above. Both
patents were approved the same day in 1905.
|
| Patent
No. / Links |
Patent
Title / Date / Notes
|
Patent
Picture |
| 793197 |
FLUSH
ATTACHMENT PLUG RECEPTACLE |
|
View
Page 1
View
Page 2
View
Page 3
Patent Class
439/570
Help
|
Patent
Applied For: 02/25/1905
Patent Approved On: 06/27/1905
|
This
was the Hubbell's first wall plug outlet. Up to this time electrical
devices were mostly being plugged into light sockets.
|
| Patent
No. / Links |
Patent
Title / Date / Notes
|
Patent
Picture |
| 817484 |
INSULATING
SCREW SHELL |
|
View
Page 1
View
Page 2
View
Page 3
View Page 4
Patent Class
439/220
Help
|
Patent
Applied For: 06/28/1905
Patent Approved On: 04/10/1906
|
| This
was a screw shell that was properly insulated for use with Thomson-Houston
lamps. It came with an adapter for Edison lamps. By using this shell
it made it "impossible" to unscrew a lamp and have the parts
of the shell detach along with the bulb when unscrewing it. Harvey
Hubbell said: "This invention has for its object to provide a
simple and inexpensive insulating screw shell adapted for general
use, and especially adapted for use as a socket shell for incandescent
electric lamps of the Edison type and as an adapted to adapt Thomson-Houston
sockets to receive Edison lamps. ... it is cheaper and very much better
in every way to have the insulating lining, which is an essential
feature of construction, an integral part of the screw shell rather
than of the socket. |
| Patent
No. / Links |
Patent
Title / Date / Notes
|
Patent
Picture |
| 817485 |
CHAIN
GUIDE FOR PULL SOCKETS |
|
View
Page 1
View
Page 2
View
Page 3
Patent Class
200/329
Help
|
Patent
Applied For: 07/14/1905
Patent Approved On: 04/10/1906
|
| This
device allowed you to extend the chain guide for applications where
the chain would normally get in the way. This also allowed for someone
to attach a chain guide to virtually any socket shell. This device
came in varying lengths and attached through the shell by way of the
inner part being turned outward against the inside of the shell while
there was shoulder that rested against the outside of the shell holding
it in place. |
| Patent
No. / Links |
Patent
Title / Date / Notes
|
Patent
Picture |
| 817642 |
INCANDESCENT LAMP CLUSTER |
|
View
Page 1
View
Page 2
View
Page 3
Patent Class
439/340
Help
|
Patent
Applied For: 09/01/1905
Patent Approved On: 04/10/1906
|
There
were several of these patents applied for with different switch and
mounting methods.
There was a rare release (patent pending) that was not approved.
This was called THE HUBBELL STANDARD PULL CLUSTER patent applied for
on 05/27/1902 and came with four sockets with pull chains hanging
as shown in the patent above
no. 701269.
It could be that it did not get a patent because each of the parts
in the cluster are already covered in other patents.
|
| Patent
No. / Links |
Patent
Title / Date / Notes
|
Patent
Picture |
| 819657 |
CARTRIDGE FUSE AND FUSE BLOCK |
|
View
Page 1
View
Page 2
View
Page 3
Patent Class
337/213
Help
|
Patent
Applied For: 10/29/1904
Patent Approved On: 05/01/1906
|
|
Harvey
Hubbell: "My invention has for its object to provide a cartridge-fuse
and fuse-block adapted for use in with either light or heavy electrical
currents and especially adapted for use where heavy currents are
used, which shall be so constructed as to eliminate the danger of
exposed terminals..."...more
|
| Patent
No. / Links |
Patent
Title / Date / Notes
|
Patent
Picture |
| 838860 |
INCANDESCENT LAMP GUARD |
|
View
Page 1
View
Page 2
View
Page 3
Patent Class
362/378
Help
|
Patent
Applied For: 08/18/1906
Patent Approved On: 12/18/1906
|
This
lamp guard used a device such like patent number 753077
to screw it on to the socket.
|
| Patent
No. / Links |
Patent
Title / Date / Notes
|
Patent
Picture |
| 857177 |
FLUSH
SWITCH |
|
View
Page 1
View
Page 2
View
Page 3
View Page 4
View
Page 5
Patent Class
200/552
Help
|
Patent
Applied For: 11/16/1906
Patent Approved On: 06/18/1907
|
This
easy push button switch worked by having a rocker inside that was
moved up and down by pressing the slightly raised buttons. No springs
or parts that normally break on switches needed to be used.
|
| Patent
No. / Links |
Patent
Title / Date / Notes
|
Patent
Picture |
| 872065 |
INCANDESCENT
LAMP CLUSTER |
|
View
Page 1
View
Page 2
View
Page 3
View Page 4
View
Page 5
Patent Class
439/541
Help
|
Patent
Applied For: 10/13/1905
Patent Approved On: 01/26/1907
|
There
were several of these patents applied for with different switch and
mounting methods.
There was a rare release (patent pending) that was not approved.
This was called THE HUBBELL STANDARD PULL CLUSTER patent applied for
on 05/27/1902 and came with four sockets with pull chains hanging
as shown in the patent above
no. 701269.
It could be that it did not get a patent because each of the parts
in the cluster are already covered in other patents.
|
| Patent
No. / Links |
Patent
Title / Date / Notes
|
Patent
Picture |
| 876552 |
SOCKET
SHELL |
|
View
Page 1
View
Page 2
View
Page 3
View Page 4
Patent Class
200/293
Help
|
Patent
Applied For: 03/05/1907
Patent Approved On: 01/14/1908
|
This
socket shell screws together by means of a guide collar. It did not
require any screws to attach the cap.
|
| Patent
No. / Links |
Patent
Title / Date / Notes
|
Patent
Picture |
| 877326 |
ELECTRIC LIGHT SOCKET CAP - J. H. GOSS |
|
View
Page 1
View
Page 2
View
Page 3
Patent Class
439/753
Help
|
Patent
Applied For: 05/29/1907
Patent Approved On: 01/21/1908
|
This was a socket shell that was patented by J. H. Goss and used by
Hubbell
|
| Patent
No. / Links |
Patent
Title / Date / Notes
|
Patent
Picture |
| 878633 |
KEY SOCKET |
|
View
Page 1
View
Page 2
View
Page 3
Patent Class
200/51.17
Help
|
Patent
Applied For: 03/06/1907
Patent Approved On: 02/11/1908
|
This was an electric key switch that used mica as an insulator.
Harvey Hubbell: "This invention has for its object to produce
a single-pole key socket which shall be inexpensive to make, perfectly
certain and safe in use and practically impossible to get out of repair."
|
| Patent
No. / Links |
Patent
Title / Date / Notes
|
Patent
Picture |
| 878634 |
SOCKET SHELL CAP FASTENING |
|
View
Page 1
View
Page 2
Patent Class
200/293
Help
|
Patent
Applied For: 09/05/1907
Patent Approved On: 02/11/1908
|
This
seems to have been a short lived method of attaching shell caps using
spring metal and a fastening method.
|
| Patent
No. / Links |
Patent
Title / Date / Notes
|
Patent
Picture |
| 890770 |
FIXED POLARITY SEPARABLE ATTACHMENT PLUG |
|
View
Page 1
View
Page 2
View
Page 3
Patent Class
439/678
Help
|
Patent
Applied For: 09/05/1907
Patent Approved On: 06/16/1908
|
This
plug was used for high potential electrical service with fixed polarity
so that the current could not be reversed.
|
| Patent
No. / Links |
Patent
Title / Date / Notes
|
Patent
Picture |
| 900854 |
MEANS
FOR LOCKING ELECTRIC SOCKETS TO FIXTURES |
|
View
Page 1
View
Page 2
View
Page 3
Patent Class
126/317
Help
|
Patent
Applied For: 03/16/1907
Patent Approved On: 10/13/1908
|
This invention used two sets of threads in the shell cap with a screw
connecting them. When the screw is tightened, the threads tighten
down around the fixture's threads causing it to lock solid into the
shell cap.
|
| Patent
No. / Links |
Patent
Title / Date / Notes
|
Patent
Picture |
| 921839 |
KEY SOCKET SWITCH |
|
View
Page 1
View
Page 2
View
Page 3
Patent Class
200/51.17
Help
|
Patent
Applied For: 12/21/1908
Patent Approved On: 05/18/1909
|
This
was an electric key switch that used mica as an insulator.
|
| Patent
No. / Links |
Patent
Title / Date / Notes
|
Patent
Picture |
| 923179 |
SEPARABLE ATTACHMENT PLUG |
|
View
Page 1
View
Page 2
View
Page 3
Patent Class
439/646
Help
|
Patent
Applied For: 10/30/1908
Patent Approved On: 06/01/1909
|
This
new plug was to cheapen the construction at the same time reduce the
size. The attachment plug cap is now made from plastic composition
or hard rubber. It also includes a new heat resisting disk to which
electrical connections are attached.
|
| Patent
No. / Links |
Patent
Title / Date / Notes
|
Patent
Picture |
| 943076 |
KEYLESS SOCKET |
|
View
Page 1
View
Page 2
View
Page 3
Patent Class
439/666
Help
|
Patent
Applied For: 01/02/1909
Patent Approved On: 12/14/1909
|
This
socket uses mica as an insulator.
Harvey Hubbell: "A reduced number of parts will enable me to
greatly shorten the base and to produce a socket which shall be highly
ornamental in appearance and shall be very much smaller both in diameter
and length then any socket of this character heretofore produced."
|
| Patent
No. / Links |
Patent
Title / Date / Notes
|
Patent
Picture |
| 943077 |
DETACHABLE CHAIN GUIDE FOR PULL SOCKETS |
|
View
Page 1
View
Page 2
View
Page 3
Patent Class
200/51.15
Help
|
Patent
Applied For: 07/23/1909
Patent Approved On: 12/14/1909
|
| This
is the patent helps us date the switches found in early shells and
gives us our starting date of July of 1909 for switches with the removable
chain guide and May 1909 for those rare ones without the removable
guide as in patent 956354. Another point is
that we have also found many shells with all four Hubbell patent dates,
but in every case the switches always have this detachable chain guide.
While it is true that Hubbell could have started using this earlier
and then added a patent for it later like he did with his threaded
shell body, it is not likely. We see Hubbell starting to toy with
the idea of different chain guides in 1905 under patent
No 817485,
but we have
not found examples of any of these in use for these early socket shells. |
| Patent
No. / Links |
Patent
Title / Date / Notes
|
Patent
Picture |
| 943078 |
MEANS FOR LOCKING ELECTRIC SOCKETS TO FIXTURES |
|
View
Page 1
View
Page 2
View
Page 3
Patent Class
285/149.1
Help
|
Patent
Applied For: 09/04/1909
Patent Approved On: 12/14/1909
|
Harvey
Hubbell: "...so far as I am aware, there has been no fixture
of this character that would permit rotation of the socket cap independently
of the bushing after the bushing was secured to the fixture."
|
| Patent
No. / Links |
Patent
Title / Date / Notes
|
Patent
Picture |
| 943681 |
SEPARABLE ATTACHMENT PLUG |
|
View
Page 1
View
Page 2
View
Page 3
Patent Class
439/668
Help
|
Patent
Applied For: 06/05/1908
Patent Approved On: 12/21/1909
|
This
plug has been reduced by 50%. All of the contact parts are now held
in the shell.
|
| Patent
No. / Links |
Patent
Title / Date / Notes
|
Patent
Picture |
| 946779 |
INSULATING
CHAIN FOR PULL SWITCHES |
|
View
Page 1
View
Page 2
Patent Class
174/138B
Help
|
Patent
Applied For: 05/17/1909
Patent Approved On: 01/81/1910
|
Harvey
Hubbell: "It is of course well understood that pull switches
are ordinarily operated by means of chains comprised of a series of
hollow metal balls loosely connected together...These chains are not
always perfectly insulated from the switches, the result of which
is that a person operating a switch... receives more or less of a
shock. My present device in the chain itself an insulating device
which...will protect the user."
|
| Patent
No. / Links |
Patent
Title / Date / Notes
|
Patent
Picture |
| 947547 |
SOCKET SHELL CAP FASTENING |
|
View
Page 1
View
Page 2
View
Page 3
Patent Class
439/753
Help
|
Patent
Applied For: 09/11/1909
Patent Approved On: 01/25/1910
|
This
was another attempt at a new cap snap lock before he came up with
the more popular wrinkle shell.
|
| Patent
No. / Links |
Patent
Title / Date / Notes
|
Patent
Picture |
| 953834 |
LOCK GUARD FOR INCANDESCENT LAMPS |
|
View
Page 1
View
Page 2
View
Page 3
Patent Class
362/378
Help
|
Patent
Applied For: 12/13/1909
Patent Approved On: 04/05/1910
|
Around
this time there was a problem with theft. People were stealing light
bulbs. This new invention Hubbell stated "thus rendering it impossible
for a person to remove the lamp from the socket without being provided
with a key."
|
| Patent
No. / Links |
Patent
Title / Date / Notes
|
Patent
Picture |
| 954963 |
LOCK GUARD FOR INCANDESCENT LAMPS AND SOCKETS |
|
View
Page 1
View
Page 2
View
Page 3
View Page 4
Patent Class
362/378
Help
|
Patent
Applied For: 12/13/1909
Patent Approved On: 04/12/1910
|
This
was patent applied for the same date as above and is simply another
style providing more security. This version protects the socket and
the light bulb.
|
| Patent
No. / Links |
Patent
Title / Date / Notes
|
Patent
Picture |
| 956354 |
CHAIN GUIDE FOR PULL SOCKETS |
|
View
Page 1
View
Page 2
Patent Class
200/51.15
Help
|
Patent
Applied For: 05/17/1909
Patent Approved On: 05/26/1910
|
This
patent was applied for before the removable chain guide.
It is more rare to be found in use on switches because it was not
used long. This was because it was a prototype of the removable guide
that was invented only a few months after this model. In this patent
he was already thinking about a removable method. This is seen where
he states that the chain guide is screwed to both the top and bottom
block, but one screw can be left off either the top or bottom block
("ordinarily to the lower block") which was explained for
easy removal. The new removable guide was patent no. 943077
|
| Patent
No. / Links |
Patent
Title / Date / Notes
|
Patent
Picture |
| 964519 |
SHADE HOLDER |
|
View
Page 1
View
Page 2
Patent Class
362/434
Help
|
Patent
Applied For: 02/25/1910
Patent Approved On: 07/19/1910
|
This
shade holder also used the bead slip over for older shells that only
had the bead on the shell and no threads. This device supplied the
threads for shade holders that needed to be screwed on.
There is
a photo and more information about this item linked
here.
|
| Patent
No. / Links |
Patent
Title / Date / Notes
|
Patent
Picture |
| 964520 |
SHADE HOLDER |
|
View
Page 1
View
Page 2
View
Page 3
Patent Class
362/434
Help
|
Patent
Applied For: 02/25/1909
Patent Approved On: 07/19/1910
|
This
patent was applied for and approved the same dates as the shade holder
shown above.
This heavy duty model was for larger more heavy shades.
|
| Patent
No. / Links |
Patent
Title / Date / Notes
|
Patent
Picture |
| 964646 |
ADJUSTABLE REFLECTOR FOR ELECTRIC LAMPS |
|
View
Page 1
View
Page 2
View
Page 3
Patent Class
362/446
Help
|
Patent
Applied For: 02/25/1909
Patent Approved On: 07/19/1910
|
This
lamp shade patent was applied for and approved the same dates as the
shade holder shown above.
This shade type is commonly seen on goose neck desk lamps and must
use patent no. 753077 to fit the socket threads.
|
| Patent
No. / Links |
Patent
Title / Date / Notes
|
Patent
Picture |
| 964863 |
SEPARABLE
ATTACHMENT PLUG |
|
View
Page 1
View
Page 2
View
Page 3
View Page 4
Patent Class
439/453
Help
|
Patent
Applied For: 08/25/1909
Patent Approved On: 07/19/1910
|
This plug had a spring center.
|
| Patent
No. / Links |
Patent
Title / Date / Notes
|
Patent
Picture |
| 989013 |
LAMP GUARD |
|
View
Page 1
View
Page 2
View
Page 3
Patent Class
362/378
Help
|
Patent
Applied For: 08/11/1910
Patent Approved On: 04/11/1911
|
|
| Patent
No. / Links |
Patent
Title / Date / Notes
|
Patent
Picture |
| 994516 |
REVERSE
ATTACHMENT PLUG |
|
View
Page 1
View
Page 2
View
Page 3
View Page 4
Patent Class
439/687
Help |
Patent
Applied For: 02/25/1910
Patent Approved On: 06/06/1911
|
The reverse attachment plug allows you to connect a plug on different
devices for example the base of a motor, vacuum cleaner, fan, etc.
|
| Patent
No. / Links |
Patent
Title / Date / Notes
|
Patent
Picture |
| 994517 |
SEPARABLE ATTACHMENT PLUG |
|
View
Page 1
View
Page 2
View
Page 3
Patent Class
439/645
Help
|
Patent
Applied For: 04/23/1910
Patent Approved On: 06/06/1911
|
Harvey
Hubbell: "This invention relates to separable attachment plugs
and has for its object to simplify, cheapen, and generally improve
their construction and mode of operation."
|
| Patent
No. / Links |
Patent
Title / Date / Notes
|
Patent
Picture |
| 994518 |
PULL
SOCKET |
|
View
Page 1
View
Page 2
View
Page 3
Patent Class
200/420
Help
|
Patent
Applied For: 07/21/1910
Patent Approved On: 06/06/1911
|
Here
is our first patent example of a pull socket that does not have the
horn attached to the shell, and that does not use mica as an insulator.
It also will be using the detachable chain guide.
|
| Patent
No. / Links |
Patent
Title / Date / Notes
|
Patent
Picture |
| 994588 |
PULL
SOCKET |
|
View
Page 1
View
Page 2
View
Page 3
Patent Class
200/420
Help
|
Patent
Applied For: 07/21/1910
Patent Approved On: 06/06/1911
|
This
patent was both applied for and approved the same day as the one above.
This version only has a couple minor upgrades one namely being the
adjustable spring and using a lug or nut to hold the tongue.
|
| Patent
No. / Links |
Patent
Title / Date / Notes
|
Patent
Picture |
| 1012553 |
NESTING
LAMP GUARD |
|
View
Page 1
View
Page 2
View
Page 3
Patent Class
362/376
Help
|
Patent
Applied For: 05/11/1911
Patent Approved On: 02/19/1911
|
Previous
lamp guards designs were not designed to be shipped for large orders.
This new design allowed them to be stacked for both shipping and storage.
|
| Patent
No. / Links |
Patent
Title / Date / Notes
|
Patent
Picture |
| 1012554 |
DETACHABLE
LAMP GUARD REFLECTOR |
|
View
Page 1
View
Page 2
View
Page 3
Patent Class
362/344
Help
|
Patent
Applied For: 06/17/1911
Patent Approved On: 12/19/1911
|
A
new reflector was designed to work with these devices.
|
| Patent
No. / Links |
Patent
Title / Date / Notes
|
Patent
Picture |
| 1022739 |
LOCK
GUARD FOR INCANDESCENT LAMPS |
|
View
Page 1
View
Page 2
View
Page 3
View Page 4
Patent Class
362/344
Help
|
Patent
Applied For: 11/29/1910
Patent Approved On: 04/09/1912
|
This
guard was for light bulbs that were of the 'closed bottom' type.
When using this guard the bulb could not be removed without removing
the socket, and the socket could not be removed without the key for
the device.
|
| Patent
No. / Links |
Patent
Title / Date / Notes
|
Patent
Picture |
| 1022740 |
GUARD
FOR INCANDESCENT LAMPS |
|
View
Page 1
View
Page 2
View
Page 3
Patent Class
362/378
Help
|
Patent
Applied For: 11/29/1910
Patent Approved On: 04/09/1912
|
This
was the standard version of the above for the open bottom type lamps.
|
| Patent
No. / Links |
Patent
Title / Date / Notes
|
Patent
Picture |
| 1048167 |
KEY
SOCKET |
|
View
Page 1
View
Page 2
View
Page 3
Patent Class
200/51.17
Help
|
Patent
Applied For: 06/17/1911
Patent Approved On: 12/24/1912
|
This
is a new example of key switch which no longer requires mica as an
insulator.
|
| Patent
No. / Links |
Patent
Title / Date / Notes
|
Patent
Picture |
| 1048168 |
KEY
SOCKET |
|
View
Page 1
View
Page 2
View
Page 3
Patent Class
200/469
Help
|
Patent
Applied For: 10/03/1911
Patent Approved On: 12/24/1912
|
This
is another example of key switch which no longer requires mica as
an insulator.
|
| Patent
No. / Links |
Patent
Title / Date / Notes
|
Patent
Picture |
| 1048169 |
OPERATING
ATTACHMENT FOR PULL SOCKETS |
|
View
Page 1
View
Page 2
View
Page 3
Patent Class
200/332
Help
|
Patent
Applied For: 09/21/1912
Patent Approved On: 12/24/1912
|
This
is an extender device for pull chains.
|
| Patent
No. / Links |
Patent
Title / Date / Notes
|
Patent
Picture |
| 1053174 |
PULL
SOCKET |
|
View
Page 1
View
Page 2
View
Page 3
View Page 4
View
Page 5
View
Page 6
Patent Class
200/51.15
Help
|
Patent
Applied For: 06/17/1911
Patent Approved On: 02/18/1913
|
This
was a new type of pull switch that did not go over well. It was around
this time 1910-1915 that many different companies started coming out
with their own versions of pull chain sockets. In fact the patent
office even added/changed a category to be used only for pull chain
sockets alone.
It could be that Hubbell felt that his first invention took so well
to the public that a new style would work in the same way, while at
the same time separating himself from those that were copying his
previous style. He stuck with this new style for almost two years
before giving up and going back to his standard older pull chain styles.
|
| Patent
No. / Links |
Patent
Title / Date / Notes
|
Patent
Picture |
| 1053175 |
PULL
SOCKET |
|
View
Page 1
View
Page 2
View
Page 3
View Page 4
View
Page 5
View
Page 6
Patent Class
200/51.15
Help
|
Patent
Applied For:06/17/1911
Patent Approved On: 02/18/1913
|
As
above, this was a new type of pull switch that did not go over well.
It was around this time 1910-1915 that many different companies started
coming out with their own versions of pull chain sockets. In fact
the patent office even added/changed a category to be used only for
pull chain sockets alone.
It could be that Hubbell felt that his first invention took so well
to the public that a new style would work in the same way, while at
the same time separating himself from those that were copying his
previous style. He stuck with this new style for almost two years
before giving up and going back to his standard older pull chain styles.
|
| Patent
No. / Links |
Patent
Title / Date / Notes
|
Patent
Picture |
| 1053176 |
PULL
SOCKET |
|
View
Page 1
View
Page 2
View
Page 3
View Page 4
Patent Class
200/332
Help
|
Patent
Applied For:10/19/1911
Patent Approved On: 02/18/1913
|
As
above, four months after the two patents shown above, we have yet
another new type of pull switch that did still did not go over well.
It was around this time 1910-1915 that many different companies started
coming out with their own versions of pull chain sockets. In fact
the patent office even added/changed a category to be used only for
pull chain sockets alone.
It could be that Hubbell felt that his first invention took so well
to the public that a new style would work in the same way, while at
the same time separating himself from those that were copying his
previous style. He stuck with this new style for almost two years
before giving up and going back to his standard older pull chain styles.
|
| Patent
No. / Links |
Patent
Title / Date / Notes
|
Patent
Picture |
| 1053177 |
PULL
SOCKET |
|
View
Page 1
View
Page 2
View
Page 3
View Page 4
Patent Class
200/51.15
Help
|
Patent
Applied For:05/06/1912
Patent Approved On: 02/18/1913
|
Again
as above, several months later, we have yet another new type of pull
switch that did still did not go over well. It was around this time
1910-1915 that many different companies started coming out with their
own versions of pull chain sockets. In fact the patent office even
added/changed a category to be used only for pull chain sockets alone.
It could be that Hubbell felt that his first invention took so well
to the public that a new style would work in the same way, while at
the same time separating himself from those that were copying his
previous style. He stuck with this new style for almost two years
before giving up and going back to his standard older pull chain styles.
|
| Patent
No. / Links |
Patent
Title / Date / Notes
|
Patent
Picture |
| 1053178 |
OPERATING
MECHANISM FOR PULL SOCKET |
|
|
View
Page 1
View
Page 2
View
Page 3
View Page 4
Patent Class
200/337
Help
|
Patent
Applied For: 05/06/1912
Patent Approved On: 02/18/1913
|
We
now have an add on part to go with this new type of pull switch that
did still did not go over well. It was around this time 1910-1915
that many different companies started coming out with their own versions
of pull chain sockets. In fact the patent office even added/changed
a category to be used only for pull chain sockets alone.
It could be that Hubbell felt that his first invention took so well
to the public that a new style would work in the same way, while at
the same time separating himself from those that were copying his
previous style. He stuck with this new style for almost two years
before giving up and going back to his standard older pull chain styles.
|
| Patent
No. / Links |
Patent
Title / Date / Notes
|
Patent
Picture |
| 1053179 |
OPERATING
MECHANISM FOR PULL SOCKET |
|
View
Page 1
View
Page 2
View
Page 3
View Page 4
Patent Class
200/332
Help
|
Patent
Applied For: 05/06/1912
Patent Approved On: 02/18/1913
|
We
now have yet another add on part to go with this new type of pull
switch that did still did not go over well. It was around this time
1910-1915 that many different companies started coming out with their
own versions of pull chain sockets. In fact the patent office even
added/changed a category to be used only for pull chain sockets alone.
It could be that Hubbell felt that his first invention took so well
to the public that a new style would work in the same way, while at
the same time separating himself from those that were copying his
previous style. He stuck with this new style for almost two years
before giving up and going back to his standard older pull chain styles.
|
| Patent
No. / Links |
Patent
Title / Date / Notes
|
Patent
Picture |
| 1064831 |
PULL
SOCKET |
|
View
Page 1
View
Page 2
View
Page 3
Patent Class
200/51.15
Help
|
Patent
Applied For:10/03/1911
Patent Approved On: 06/17/1913
|
Again
as above, several months later the other patents, we have yet another
new type of pull switch that did still did not go over well. It was
around this time 1910-1915 that many different companies started coming
out with their own versions of pull chain sockets. In fact the patent
office even added/changed a category to be used only for pull chain
sockets alone.
It could be that Hubbell felt that his first invention took so well
to the public that a new style would work in the same way, while at
the same time separating himself from those that were copying his
previous style. He stuck with this new style for almost two years
before giving up and going back to his standard older pull chain styles.
|
| Patent
No. / Links |
Patent
Title / Date / Notes
|
Patent
Picture |
| 1064832 |
PULL
SOCKET |
|
View
Page 1
View
Page 2
View
Page 3
Patent Class
200/420
Help
|
Patent
Applied For:10/03/1911
Patent Approved On: 06/17/1913
|
Again
as above, several months later the other patents, we have yet another
new type of pull switch that did still did not go over well. It was
around this time 1910-1915 that many different companies started coming
out with their own versions of pull chain sockets. In fact the patent
office even added/changed a category to be used only for pull chain
sockets alone.
It could be that Hubbell felt that his first invention took so well
to the public that a new style would work in the same way, while at
the same time separating himself from those that were copying his
previous style. He stuck with this new style for almost two years
before giving up and going back to his standard older pull chain styles.
|
| Patent
No. / Links |
Patent
Title / Date / Notes
|
Patent
Picture |
| 1064833 |
SEPARABLE
ATTACHMENT PLUG |
|
View
Page 1
View
Page 2
View
Page 3
View Page 4
Patent Class
439/646
Help
|
Patent
Applied For: 01/02/1912
Patent Approved On: 06/17/1913
|
Harvey Hubbell: "This invention relates to separable attachment
plugs and has for its object to simplify, cheapen, and generally improve
their construction and mode of operation."
|
| Patent
No. / Links |
Patent
Title / Date / Notes
|
Patent
Picture |
| 1064834 |
PULL
SOCKET |
|
View
Page 1
View
Page 2
View
Page 3
Patent Class
200/51.15
Help
|
Patent
Applied For:05/06/1912
Patent Approved On: 06/17/1913
|
Again
as those shown above, we have yet another one of these new types of
pull switch sockets that did still did not go over well.
This was the last one before giving up and changing the style back
to the popular known Hubbell pull chain sockets. |
| Patent
No. / Links |
Patent
Title / Date / Notes
|
Patent
Picture |
| 1107951 |
INCANDESCENT
LAMP SOCKET |
|
View
Page 1
View
Page 2
View
Page 3
Patent Class
439/753
Help
|
Patent
Applied For:05/31/1912
Patent Approved On: 08/18/1914
|
| A
Hubbell version of a Wrinkle socket shell. |
| Patent
No. / Links |
Patent
Title / Date / Notes
|
Patent
Picture |
| 1121348 |
ELECTRIC
LAMP SOCKET - BRYANT PATENT |
|
View
Page 1
View
Page 2
View
Page 3
Patent Class
439/753
Help
|
Patent
Applied For: 12/12/1913
Patent Approved On: 12/15/1914
|
Hubbell
used this Bryant Patent for their Wrinkle Shell.
For more information see the research
section at this link. |
| Patent
No. / Links |
Patent
Title / Date / Notes
|
Patent
Picture |
| 1107951 |
INCANDESCENT
LAMP SOCKET |
|
View
Page 1
View
Page 2
View
Page 3
Patent Class
439/753
Help
|
Patent
Applied For:05/31/1912
Patent Approved On: 08/18/1914
|
| This
looks to be the first version of the Wrinkle socket shell. |
| Patent
No. / Links |
Patent
Title / Date / Notes
|
Patent
Picture |
| 1135019 |
SHADE HOLDER |
|
View
Page 1
View
Page 2
Patent Class
362/440
Help
|
Patent
Applied For: 04/02/1912
Patent Approved On: 04/13/1915
|
This
shade holder was made to improve the way that they work in that using
a clamp shades would be safer and not fall out and break as they did
many times with older shade holders.
|
| Patent
No. / Links |
Patent
Title / Date / Notes
|
Patent
Picture |
| 1135020 |
SHADE
HOLDER |
|
View
Page 1
View
Page 2
View
Page 3
Patent Class
362/440
Help
|
Patent
Applied For:08/23/1912
Patent Approved On: 04/13/1915
|
| Harvey
Hubbell: "The present invention has for its object to provide
in combination with a screw or cam means for contracting the ring,
means for preventing undue movement of the ring in in the support
or holder, without affecting its resiliency or interfering with its
free contraction and expansion. |
| Patent
No. / Links |
Patent
Title / Date / Notes
|
Patent
Picture |
| 1138292 |
LOCKING
LAMP |
|
View
Page 1
View
Page 2
View
Page 3
View Page 4
Patent Class
439/307
Help
|
Patent
Applied For: 02/01/1913
Patent Approved On: 05/04/1915
|
This device once added to the light bulb would break the conductor
if removed.
This had to do with theft of bulbs. If anyone steals the bulb, they
would not be able to use it.
Harvey Hubbell: "More specifically, and in accordance with one
feature of the invention, said invention contemplates the provision
of a lamp base which may be screwed into an ordinary lamp socket but
which can not be unscrewed therefrom without first performing an operation
which will destroy the usefulness of the lamp."
|
| Patent
No. / Links |
Patent
Title / Date / Notes
|
Patent
Picture |
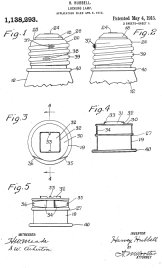
| 1138293 |
LOCKING
LAMP |
|
View
Page 1
View
Page 2
View
Page 3
View Page 4
View
Page 5
View
Page 6
Patent Class
439/307
Help
|
Patent
Applied For:04/09/1913
Patent Approved On: 05/04/1915
|
This
device (as the one above) once added to the light bulb would break
the conductor if removed.
This had to do with theft of bulbs. If anyone steals the bulb, they
would not be able to use it.
Harvey Hubbell: "More specifically, and in accordance with one
feature of the invention, said invention contemplates the provision
of a lamp base which may be screwed into an ordinary lamp socket but
which can not be unscrewed therefrom without first performing an operation
which will destroy the usefulness of the lamp." |
| Patent
No. / Links |
Patent
Title / Date / Notes
|
Patent
Picture |
| 1146938 |
ATTACHMENT
PLUG RECEPTACLE |
|
View
Page 1
View
Page 2
View
Page 3
View Page 4
Patent Class
439/223
Help
|
Patent
Applied For: 07/23/1914
Patent Approved On: 07/20/1915
|
This was a new adapter that would adapt any of the past attachment
plugs to now standard plugs or knife blade plugs of which both had
become common use in those days.
|
| Patent
No. / Links |
Patent
Title / Date / Notes
|
Patent
Picture |
| 1180648 |
ATTACHMENT
PLUG |
|
View
Page 1
View
Page 2
View
Page 3
Patent Class
439/679
Help
|
Patent
Applied For: 03/15/1915
Patent Approved On: 04/25/1916
|
This was a new plug that could only be plugged in one direction. This
was the first Hubbell plug to prevent reverse polarity.
|
| Patent
No. / Links |
Patent
Title / Date / Notes
|
Patent
Picture |
| 1181451 |
SWIVEL
CORD GRIP FOR ELECTRIC FIXTURES |
|
View
Page 1
View
Page 2
View
Page 3
Patent Class
439/462
Help
|
Patent
Applied For: 09/20/1915
Patent Approved On: 05/02/1916
|
This was a new plug part that would lock the cord and keep it from
twisting.
|
| Patent
No. / Links |
Patent
Title / Date / Notes
|
Patent
Picture |
| 1229464 |
PULL
SOCKET |
|
View
Page 1
View
Page 2
View
Page 3
View Page 4
Patent Class
200/420
Help
|
Patent
Applied For: 11/29/1916
Patent Approved On: 06/12/1917
|
This
marks the date that we see Hubbell going back to their older styles
of sockets again.
So in patent no. 1053174 which was applied for on 06/17/1911 until
this patent applied for 11/29/1916 we have about five years in which
the concept was finally given up on. During this time there is no
doubt that the original switches from patent number 994518 from June
6th 1911 as well as others were still being sold to the public.
This patent was in relation and/or to improve patents 565541 (1896),
693799 (1902) and 994518 (1911) |
| Patent
No. / Links |
Patent
Title / Date / Notes
|
Patent
Picture |
| 1275691 |
MEANS
FOR LEVELING AND ALINING FACE PLATES |
|
View
Page 1
View
Page 2
View
Page 3
Patent Class
174/58
Help
|
Patent
Applied For: 11/17/1915
Patent Approved On: 08/13/1918
|
Walls
in these days were 'roughly' and 'unevenly' finished. This face plate
was designed to mound evenly.
|
| Patent
No. / Links |
Patent
Title / Date / Notes
|
Patent
Picture |
| 1275693 |
CONVERTIBLE
CAP FOR ATTACHMENT PLUGS |
|
View
Page 1
View
Page 2
View
Page 3
View Page 4
Patent Class
439/173
Help
|
Patent
Applied For: 12/17/1917
Patent Approved On: 08/13/1918
|
This
cap allowed the contact blades to be removed and the positions switched
around.
|
| Patent
No. / Links |
Patent
Title / Date / Notes
|
Patent
Picture |
| 1352604 |
ELECTRIC
SWITCH MECHANISM |
|
View
Page 1
View
Page 2
View
Page 3
View Page 4
Patent Class
200/420
Help
|
Patent
Applied For: 06/17/1919
Patent Approved On: 09/14/1920
|
This
was a new switch that clicks faster and snaps which was designed for
ceiling switches.
|
| Patent
No. / Links |
Patent
Title / Date / Notes
|
Patent
Picture |
| 1460246 |
LOCKING
LAMP |
|
View
Page 1
View
Page 2
View
Page 3
View Page 4
View
Page 5
View
Page 6
Patent Class
439/302
Help
|
Patent
Applied For: 06/18/1921
Patent Approved On: 06/26/1923
|
This
is an update to the locking lamp in which can not be removed from
the socket without breaking one of the electrical connections to the
filament within the bulb.
|
| Patent
No. / Links |
Patent
Title / Date / Notes
|
Patent
Picture |
| 1480072 |
SEPARABLE
ATTACHMENT PLUG |
|
View
Page 1
View
Page 2
View
Page 3
Patent Class
439/646
Help
|
Patent
Applied For: 02/16/1921
Patent Approved On: 01/08/1924
|
Harvey Hubbell: "This invention relates to separable attachment
plugs and has for its object to simplify, cheapen, and generally improve
their construction and mode of operation." This plug also uses
screws and spring plates. Most other plugs of this nature in this
era were using rivets which made them hard to repair or work with.
|
| Patent
No. / Links |
Patent
Title / Date / Notes
|
Patent
Picture |
| 1486896 |
MEANS
FOR ATTACHING FIXTURES TO OUTLETS |
|
View
Page 1
View
Page 2
View
Page 3
View Page 4
View
Page 5
Patent Class
174/54
Help
|
Patent
Applied For: 03/01/1921
Patent Approved On: 03/18/1924
|
In
this era two skilled technicians were needed for wiring a house. This
invention made it so that when the house was wired, someone with less
skill could wire in the electrical device.
|
| Patent
No. / Links |
Patent
Title / Date / Notes
|
Patent
Picture |
| 1504761 |
CLASP |
|
View
Page 1
View
Page 2
View
Page 3
View Page 4
Patent Class
24/116A
Help
|
Patent
Applied For: 05/31/1923
Patent Approved On: 08/12/1924
|
Though
the patent for this finial was applied for in 1923, there are earlier
examples of crimp on acorns predating 1909. However this example
that uses the slide in clamp is most common and is is dated post 1922
more info....
|
| Patent
No. / Links |
Patent
Title / Date / Notes
|
Patent
Picture |
| 1575992 |
LOCKING
LAMP |
|
|
View
Page 1
View
Page 2
View
Page 3
View Page 4
View
Page 5
View
Page 6
Patent Class
313/318.04
Help
|
Patent
Applied For: 03/26/1925
Patent Approved On: 03/09/1926
|
This
is an update to the locking lamp in which can not be removed from
the socket without breaking one of the electrical connections to the
filament within the bulb. This new version shorts the lamp because
of some flaws in the previous versions where the filament was not
broken.
|
| Patent
No. / Links |
Patent
Title / Date / Notes
|
Patent
Picture |
| 1579865 |
FOUR-DOOR
DUPLEX FLUSH RECEPTACLE |
|
View
Page 1
View
Page 2
View
Page 3
View Page 4
Patent Class
439/138
Help
|
Patent
Applied For: 05/15/1920
Patent Approved On: 04/06/1926
|
This
wall plate has spring doors that are open when a device is plugged
in and snaps shut when unplugged.
|
| Patent
No. / Links |
Patent
Title / Date / Notes
|
Patent
Picture |
| 1603255 |
MEANS
FOR ATTACHING FIXTURES TO OUTLETS |
|
View
Page 1
View
Page 2
View
Page 3
View Page 4
Patent Class
439/347
Help
|
Patent
Applied For: 04/09/1921
Patent Approved On: 10/12/1926
|
In
this era two skilled technicians were needed for wiring a house. This
invention made it so that when the house was wired, someone with less
skill could wire in the electrical device. This new patent updates
some features in the old patent 1486896
|
| Patent
No. / Links |
Patent
Title / Date / Notes
|
Patent
Picture |
| 1645952 |
CANDLE
PULL SOCKET |
|
View
Page 1
View
Page 2
View
Page 3
View Page 4
Patent Class
200/51.01
Help
|
Patent
Applied For: 05/09/1923
Patent Approved On: 10/18/1927
|
It
took almost five years for this patent to become approved. Because
of this, you will find many of these pull sockets with either no patent
date at all or simply a pat appl for mark on the bottom of the frame
of the socket. The socket uses the acorn patent 1504761
with a smaller size chain and acorn finial.
|
| Patent
No. / Links |
Patent
Title / Date / Notes
|
Patent
Picture |
| 1685361 |
CAP
AND SHELL FASTENING - HARVEY HUBBELL JR. |
|
View
Page 1
View
Page 2
View
Page 3
View Page 4
View
Page 5
Patent Class
439/753
Help
|
Patent
Applied For: 05/07/1927
Patent Approved On: 09/25/1928
|
This
year also ended Harvey Hubbell's patents. He died on December 17,
1927. His son succeeded him as President of Harvey Hubbell, INC.
Harvey Hubbell III was 26 years old at this time and had already spent
years working in his fathers business.
Though his father had not passed on for about seven more months, this
was Harvey Hubbell Jr's first patent. |
| Patent
No. / Links |
Patent
Title / Date / Notes
|
Patent
Picture |
| 1686813 |
SOCKET
SHELL |
|
View
Page 1
View
Page 2
View
Page 3
View Page 4
Patent Class
439/753
Help
|
Patent
Applied For: 09/29/1923
Patent Approved On: 10/09/1928
|
Do
not confuse this
wrinkle shell with the one that is so common today.
See the Hubbell research page for more information about the Wrinkle
shell see this section.
This patent took over five years to become approved while the shell
had been in use and sold to the public during this time.
|
| Patent
No. / Links |
Patent
Title / Date / Notes
|
Patent
Picture |
| 1736285 |
INDICATING
PULL SOCKET |
|
View
Page 1
View
Page 2
View
Page 3
View Page 4
View
Page 5
Patent Class
200/51.15
Help
|
Patent
Applied For: 09/21/1926
Patent Approved On: 11/19/1929
|
This
is the most common pull switch that we see today.
|
| Patent
No. / Links |
Patent
Title / Date / Notes
|
Patent
Picture |
| 1771636 |
CAP
AND SHELL FASTENING - HARVEY HUBBELL JR. |
|
View
Page 1
View
Page 2
View
Page 3
View Page 4
Patent Class
439/753
Help
|
Patent
Applied For: 05/28/1929
Patent Approved On: 07/29/1930
|
This
is a patent for a shell and cap that Harvey Hubbell Jr. did almost
two years after his father passed away. We believe that this shell
was in prototype years before this
because of us having an early hammered down version of the shell base.
It could be that Harvey Hubbell Jr. was re visiting some of his own
previous ideas that never got off the ground, or maybe some of his
fathers notes. It does not appear that this shell was produced in
any volume during this era.
If you have this shell example, we would
like to purchase it from you.
|
| Patent
No. / Links |
Patent
Title / Date / Notes
|
Patent
Picture |
| 1774014 |
CAP
AND SHELL FASTENING - HARVEY HUBBELL JR. |
|
View
Page 1
View
Page 2
View
Page 3
View Page 4
Patent Class
439/753
Help
|
Patent
Applied For: 03/15/1928
Patent Approved On: 08/26/1930
|
This
is almost the same patent as above with only a few minor differences
to the shell cap.
If you have this shell example, we would
like to purchase it from you.
|
| Patent
No. / Links |
Patent
Title / Date / Notes
|
Patent
Picture |
| 2051857 |
ELECTRIC
PULL SOCKET - HARVEY HUBBELL JR. |
|
View
Page 1
View
Page 2
View
Page 3
View Page 4
Patent Class
200/51.15
Help
|
Patent
Applied For: 07/17/1930
Patent Approved On: 08/25/1936
|
First
Hubbell Bakelite Switch
This is a new style of pull socket that Harvey Hubbell Jr. came out
with. This switch did get some use and can still be found commonly.
Through the many years of Hubbell's history, there were more of the
older switches made then these. This is the reason that these Bakelite
switches do not come up for sale as often and may even seem to be
more rare. |
| Patent
No. / Links |
Patent
Title / Date / Notes
|
Patent
Picture |
| 2116518 |
REINFORCING
JACKET FOR SOCKET SHELLS - HARVEY HUBBELL JR. |
|
View
Page 1
View
Page 2
View
Page 3
Patent Class
200/303
Help
|
Patent
Applied For: 06/10/1935
Patent Approved On: 05/10/1938
|
What
a great idea. This invention would have gone far if Harvey Hubbell
would have thought of it back in the days when pull chain sockets
were in every day use. People were looking for this solution and this
would have solved their problem easily. This goes to show how Harvey
Hubbell Jr. had his fathers mind and heart in this business.
If you have this shell jacket, we would like
to purchase it from you. |
|
EPILOG
|
|
After this point
in patents, Harvey Hubbell Jr. goes on coming up with some truly
great electrical inventions!
His father would have been proud to see him following in his footsteps
and becoming such a great inventor.
With the many patents that came after this point, we could go on
forever adding to this section.
However we must keep on topic and stick with the antique sockets
that this site is all about.
If you find any
pre-1925 patents missing from this section, please report the patent
number, item and date of the patent to us.
We will promptly add it to this section.
|
|
LINKING
TO THIS SECTION
|
|
You have permission
to link to this section if you follow the simple rules below:
GIVE CREDIT WHERE CREDIT IS DUE.
We pay for the bandwidth on this site.
If your site is found linking directly to the TIFF files, your domain
will be blocked from linking in the future.
We allow linking to HTML files:
You can link
to the HTML file for each patent using any patent number as an anchor.
Examples:
To link patent number 2116518
The link
would be http://antiquesockets.com/hubbellpatents.html#2116518
To link patent number
649308
The link that
you would add to your page would be http://antiquesockets.com/hubbellpatents.html#649308
|
� COPYRIGHT ALL RIGHTS RESERVED
Disclaimer:
While the patents hosted on this site are public domain and not covered
under our copyrights, all comments, deductions, reasoning, or other text
on this page IS included in our copyright.
|